Please be aware that some specialist imagery may take time to load.
This site is designed for dedicated researchers, and is best viewed on desk or laptop.
SEE ALSO: ... LANDSCAPE TARGETS......... .SWIFT TRAINING RIFLE TARGETS.........NOVELTY TARGETS.........LEAGUES TARGETRY...... SMRC & NSRA TARGETRY
or a comprehensive illustrated listing of "BRITISH TARGETS" from 1850 to 2000
To just start off this page, which affords a brief look at the targets
used by the rifles represented on this site,
we illustrate a typical target holder for the times in which
many of the targets here represented would have been held on a 'miniature' rifle range.
Marketed by the Parker-Hale company under patent no. 5011 of 1941.
The heavy steel roller ran in an angled slot at each end,
its weight dropping it against the bar which would be screwed
to a vertical wooden structure in the range butts.

Designed late in the Second World War, the unit was shown here advertised in 1950,
with an option of using two - on top and one bottom - to hold larger targets.
A good sales ploy.
The holder was still on offer well into the 1960s.
The unit is shown below holding a set of the figure targets
used for military training on 25 yard miniature ranges.
These are scaled to represent targets at 200, 300, 400, 500 and 600 yards.
Hover over or Click image to bring up hi-res file and magnifier
From left to right these are:
Target "64 - M.G.in action 500/25 yds"
Target "63 - M.G.in action 300/25 yds"
(Machine Gun team)
Target "47 - Fig.3 - 600/25 yds"
Target "46 - Fig.3 - 400/25 yds"
Target "50 - Fig.1 - 600/25 yds"
Target "49 - Fig.1 - 500/25 yds"
Target "45 - Fig.3 - 300/25 yds"
Target "44 - Fig.3 - 200/25 yds"
Below are represented singleton prone riflemen and indistinct standing figures.
From left to right these are:
Target "55A - Fig.4A -400/25 yds"
Target "54A - Fig.4A - 300/25 yds"
Target "53A - Fig.4A - 200/25 yds"
Target "35A - Fig.11/59 - 300/25 yds"
Target "35 - Fig.11/59 - 200/25 yds"
Below are a modern figure target and two post war snap-shooting targets used in timed details.
The author used these snap targets on a cadet range in the 1950s
firing both the Lee-Enfield No.8 rifle and the BSA Century target riflle.
From left to right these are:
The No.33 target also states "Top Circle for No.4 Rifle" when a full service .303-inch calibre rifle could be used on the 25 yard walled out-door range; although .22RF No.4 rifles were also available in the services - either the Lee-Enfield No.7 rifle of the R.A.F, or the N.9 rifle of the Royal Navy.
Later snapshooting targets No.24 and No.39 became available,
representing 100/25 yds. and 300/25 yds., on each of which was printed the specific text
"For use with .303 ammunition, the sight should be set at 200 yards; with .22 in accordance with the board kept in the miniature range"
Another similar target for snapshooting gave scoring instructions and details of usage.
This was a Canadian version for use with the Canadian C No.7 rifle
"SCORING: INNER 4 PTS PER HIT"
Outer 3 pts per hit
Target Miniature and 25 yard range
Snapshooting .22" rep 200/25 yds: with
offset scoring rings for No.4 rifle
CAMT 7-40 APPXs "b. "C" & "D"
Offset scoring rings for No.4 rifle with sight setting 300 yds."

Below: target on the left could be used to represent a figure, a building or a vehicle.
Target "36 - Fig.12/59 - 200/25 yds"
That on the right represented a moving figure carrying a rifle.
Target "56 - Fig.6 - 400/25 yds"
................ 
There was also a target for a light tank for very short range practice.
"Light Tank 300/10 yds. BCM/MCQZ."

A target specifically used with a particular rifle was a Commonwealth version
for shooting with the Canadian C No.7 rifle at, unusually, 30 yards.
Target "No.9C Small 200/30 yards"

There was also a ten diagram version on a larger card for straight 30 yard employment
by the Royal Canadian Air Force.

Various sizes of scaled rubber tanks were also used on miniature ranges,
being fitted with screw-eyes back and front to enable them to be moved on cords
across the butts for practice in judging "lead" on crossing targets.
See: the L2A1 conversion of the No.8 rifle for aiming practice.
A quite early pair of silhouette targets,dated around 1906,
are made of a wood composite, and illustrate
an obvious link to times in which cavalry still operated.

FOR CHAPTER & VERSE ON ALL THESE TARGETS
and many more
See Dave Clark's long out of print volume covering practically all
military, and mmany of the civilian targets used between
the mid 19th. Century and the Millenium.
THE SOLANO SYSTEM
Designed by Captain E.J. Solano, an Engineer officer on the Imperial General Staff prior to the First World War, and used to train recruits and provide miniature-calibre short-range rifle practice over the next three decades or more in various emulated derivative guises, this basic system was in common use - even at the Musketry School at Hythe in Kent. Solano wrote much material on infantry training, and had a number of training papers and manuals published, particularly in the Imperial Army Series published by Murrays of Albemarle Street, London.
He had earlier written to Lord Roberts about his targetry designs, and Roberts replied on Christmas Day 1908
telling Solano that he hoped the latter's system would be accepted by the military authorities.
* A year in which Great Britain held the Olympic Games, with both success and some controversy in shooting competition.
See "The Plater Incident" on the linked page.
Roberts' letter is reproduced below.
The Solano system was subsequently officially approved by the Army Council for military training.
As well as being used for Landscape targetry, the framework upon which that system relied could also be used for elementary practice on standard targets , or on the specially designed range of Solano targets based upon the quite reasonable premise that, by comparison with a circular aiming-mark, firstly, the triangular aiming-mark resulted in a more realistic representation of the human form on the battlefield and, secondly, that the triangle presented a more accurate indication of hits that might have been scored on the human frame in the field.
The basic target frame setup is shown below, along with two contemporary advertisements for the targets and the system respectively.
........
Here follows a self-explanatory extract on the Solano Targets from a Musketry manual of 1915.
The targets are shown at near actual size to permit an opportunity to try them on your range.
A confirmation scale can be gained from the actual height dimension of Elementary Target No.1 ( Fig. 67), which is 106mm.
VIII. SOLANO ELEMENTARY AND INSTRUCTIONAL TARGETS.*
1. In Musketry Regulations,
para. 361, it is laid down that in carrying out training on miniature ranges due regard must be paid to the visibility of service targets, and bull's-eye
targets must be used for the first few rounds only. In para. 206 (iii)
of Musketry Regulations (see Sec. 17, para. 4 of this book) focussing the
eye on the fore-sight of the rifle instead of on the object is indicated
as a common fault which instructors must guard against in elementary stages
of training. This error is common when bull's-eye targets are used, and
unless remedied will adversely affect shooting at service Targets, on which
the eye must be focussed, and which must be watched closely when firing.
2. Elementary Targets (Figs. 67 and 68).-The Solano Elementary Targets have
been designed to counteract the tendency to focus the eye on the fore-sight
instead of on the target, and may be used for grouping and application practices
after firing at the bull's-eye target. These targets are coloured green,
brown, and grey, instead of white, to accustom the eye to the tints of natural

backgrounds against which service targets will be seen. The aiming-mark
in No. 2 is less distinct than in No. I, to accustom the eye gradually to
focussing on indistinct targets when aiming.
* The illustrations of these Targets in this section only show the aiming-marks and scoring diagrams. These are printed in the centre of square card surfaces of convenient size in the usual manner, the cards being green, grey, or brown, instead of white.
3. Triangle Aiming and Scoring Diagrams.-
(i) Triangles have been substituted in these targets for concentric circles as aiming and scoring diagrams, because they have a truer relation to the shape

of the human figure in both lying and upright positions. The triangle on
No. I target has relation to the human figure in an upright position, and
the triangle on No. 2 target to the human figure in a lying position. The
dimensions of the triangles on these targets correspond with the regulation
grouping standards of the British Army.

Fig. 69.-A CIRCLE (3 INCHES IN DIAMETER) AND A TRIANGLE (3 INCHES EQUILATERAL)
SHOWING THAT THE TRIANGLE AS AIMING AND SCORING DIAGRAM INDUCES CLOSER GROUPING
THAN THE CIRCLE BY ALLOWING LESS MARGIN FOR BOTH VERTICAL AND LATERAL ERRORS
REPRESENTED BY THE DOTS.
(ii) For elementary instruction in aiming the important six o'clock line,
the centre of the base of the triangle is, on these targets, an indicated
instead of an imaginary line, as in the case of the circular bull's-eye.
More consistent grouping is induced by the triangle owing to the fact that
it allows a much narrower

margin for lateral errors, while its conical shape and straight base considerably
curtail the scoring area for vertical errors off

the six o'clock line as compared with the circle (Fig. 69). The triangle,
moreover, as an aiming and scoring surface puts a
premium upon a low point of aim and from the first inculcates in men, as
a habit, this vital principle of marksmanship in war.
(iii) The centre triangles are not made smaller, firstly, because it is
not desired to encourage the habit of slow aim which is engendered by individual
practice at very small marks, and which militates against efficiency in
snapshooting and rapid firing ; and, secondly, because it is not desired
to encourage men to attain a useless and disproportionate degree of excellence
in firing at

elementary targets which is merely preparatory for practice at service targets.
4. Instructional Targets (Figs. 70, 71, and 72).-
(i) These targets are also coloured green, grey, and brown, the colour of the uniform of the figures on them corresponding in each case with that of the target. The figures are accurately scaled down to correct size at 25 yards for the actual distances, so as to help men in judging close range by accustoming the eye to the ap¬pearance of men seen at different distances against backgrounds which harmonize with the colour of their uniform. It must be remembered that the figures on these targets, though necessarily depicted in fixed postures as stationary marks, represent men in movement during which they are seldom stationary or seen in a fixed posture, except, possibly, for a few seconds while lying down to fire.
(ii) Accordingly, marks are not given for hits scored on any particular
part of the figures depicted in fixed postures, which would usually be seen
in movement, but for shots grouped in areas of comparative value as regards
probable assurance of fire effect, chosen in the light of experience of
war as the best aiming points for firing at figures in movement which frequently
and suddenly alternate between the upright and lying positions. The centre
triangles, representing the most valuable of these grouping areas, are purposely
made fairly large for the reasons stated in connection with the elementary
Below: an actual target, illustrating the colouring intended to best represent that to be expected in the field.
Capt. John Solano's 1915 manual "MUSKETRY for .303 and .22 Cartridges"
is a 340 page miniature tome that holds much information
on the training use of miniature calibre service rifles in addition to full-bore weapons.
It is available by clicking the image below
A particularly early targetry system was invented by Lt. Col. George Peters,
and which must have been one of the earliest automatic scoring arrangements
ever produced, being described as "self-registering".
It was originally patented in April of 1903; the application is shown next
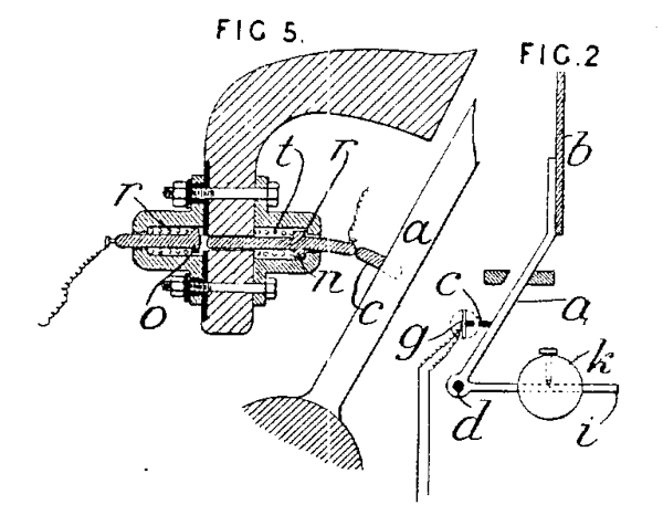
7980. Peters, G. A. April 6. Targets.-Fig. 2 is a diagrammatic view of the back of an electric indicating-target A, constructed of sections firmly secured by shanks B to crossbars C, D, E, F rigidly fixed to uprights G of brackets H on a base I. At the back of each target section is a contact-maker J(1), pivoted to a bracket J, and arranged to complete a circuit through an insulated spring plate K, an indicator 2 at the firing-point, a battery 4, a wire 3, and the frame of the target. The target sections are held rigidly, and do not move bodily, when struck, the levers J(1) being tilted by the force of impact, or vibrations of the plates. In order to test the apparatus, a challenge board 6 is provided at the firing- point, and a pointer 10 is moved over contact pins 7 so as to complete an electric circuit through each indicating-section in turn. The motion of the contact lever J(1) is limited by a projection of the lever coming in contact with a shoulder of the bracket J, and the lever is weighted at (1) to bring it back to its original position.

Three years later, further details were given in an article in the August issue
of the ENGINEERING journal of 1906.
Of the two units illustrated in the article, the large ground-mounted one is for out-door full-bore use at ranges in excess of 100 yards, and the smaller pedestal-mounted model is for in-door miniature range use.

A further write-up of the equipment was published
in "The Scientific American" the following year,
explaining the system in great depth.
At the Bisley rifle meeting in England last year, great interest was centered in a new type of target that has been invented by Lieut.-Col. George A. Peters, of the Ninth Toronto Light Horse, for the automatic indication by electrical agency of the effect of shots. This apparatus has been designed for the purpose of securing an immediate and accurate record of the shot fired, dispensing with the necessity and cost of constructing a mantelet for the protection of the markers, and also with the attendance of markers, two of whom are ordinarily required in the operation of the usual balanced type of target.
In this self-registering electric target there is a face-plate of solid steel which, through the agency of certain mechanical devices distributed over its posterior surface, is capable of responding in sections. When a bullet strikes any part of the target, the corresponding unit behind the plate is set in operation, in such a way that an electric circuit is closed, and a disk on the corresponding part of an indicator or annunciator, similar to that employed in connection with electric bells, is exposed at the firing point.
The apparatus illustrated in the accompanying engravings is designed for use in indoor or miniature ranges, but the principle of design and the operation are precisely the same as in those for use on outdoor ranges. The main framework of the target is composed of a pair of substantial upright standards connected by cross-beams, and furnished with bases which are firmly bolted to a square horizontal platform of heavy timber. In the case of those adapted to miniature range practice, as illustrated, the target is carried upon a heavy iron pedestal.
The target itself is swung upon the standards by means of a rocking frame, the front arms of which are mounted on pivots near the four corners of the plate. The rocking frame is designed upon the principle of a parallel ruler or a system of parallel motion levers by means of which the plate as a whole can be raised and lowered in the direction of the arc of a circle having a radius equal to the length of the anterior arms of the rocking frame this length is also equal to the radial length of the hammers without altering the vertical position of the frame.
By this means the plate may be brought nearer to or removed farther from the back plate supporting the hammers without disturbing the vertical position. The presence of the rocking frame enables the target to be made adjustable as regards sensitiveness for various ranges, weights, and velocities of different ammunition, while it is also through the movement of this section that the working integrity of all parts of the target may be tested. The target plate is constructed of three layers of chrome steel, alternately hard and soft, as adopted in the laminated construction of burglar-proof safes. When the range exceeds 100 yards, but little impression upon its surface is made by the bullets. The plate supporting the moving hammers is composed of mild steel about 1 inch in thickness, and is rigidly bolted to the cross-beams between the standards. It is pierced by a series of oblong slots for the reception of the hammers, which are supported by pairs of lugs or brackets obtained by simply bending up the strips of plate from the sides of the slot. The number of hammers adopted varies according to the size of the target. The target required for indoor or miniature range practice is only 15 inches in diameter and 37 hammers are employed, while in a target 4 feet in diameter 61 hammers are required. The hammers are placed in concentric circles about the central hammer, which corresponds to the "bull's-eye," there being six hammers in the "inner" circle, twelve in the "magpie" circle, eighteen in the "outer" circle, and an additional circle of twenty-four outside of these which are grouped for working purposes with the hammers of the "outer" circle.
In a 6-foot target for use at 500, 600, and 800 yards, respectively, which is the largest yet made, and which has recently been installed at the Toronto Rifle Ranges, the same number of hammers as in the 4-foot target is utilized, the hammers being placed farther apart. Each hammer is supported upon the back plate by a pivot which passes horizontally through it near its rear extremity, and rests simply by its own weight upon the lugs or brackets already described. Thus each hammer can easily and readily be removed by hand when required for examination or repair. The opposite end of each hammer is provided with a rounded head, and this rests normally against the rear face of the target plate. The backward motion of the hammer, however, is regulated by means of a shoulder which insures that the center of gravity of the hammer piece is always in front of its supporting pivot, so that after being driven backward by the impact of the bullet striking the target plate it immediately falls back into its normal position against the target plate. The end of the hammer projecting beyond the point where it is pivoted is provided with a tall or spur which projects almost vertically upward, when the hammer is in the normal position. When, however, the hammer is forced backward by the impact of the bullet, this spur moves in a circular direction backward and establishes sliding electrical contact, with a slender insulated brass spring connected by wire with the annunciator. This contact continues through a length of time corresponding to the end of the rearward movement of the hammer, and also to the beginning of its return movement. It will thus be seen that a length of contact is obtained which is considerably in excess of that required to cause the corresponding indicator upon the annunciator to drop.
One of the leads of the electric cable is soldered to each brass contact, while earthing is obtained by soldering the wire to some portion of the supporting plate, thereby forming a complete electrical circuit broken only between the hammer spurs and their respective brass springs. The battery is located at the annunciator end of the cable. When one hammer or more is moved and an electrical connection established, the corresponding magnet or magnets on the annunciator are energized and the indicator or indicators fall, recording the result of the shot fired. The annunciator is constructed of galvanized iron with a weather-proof case and encloses a number of electro-magnets arranged in concentric circles to conform to the arrangement of the hammers of the target. Each of the electro-magnets when energized operates a very simple form of corresponding gravity drop. The groups of indicators in the respective rings carry the customary scoring numbers.
The annunciator is equipped with a restoring mechanism which is operated by a strong magnet, so that after the drop or drops have fallen, the simple pressing of a button resets the apparatus. When a bullet strikes the plate, no appreciable movement of the whole results from the impact, but the impact sets up a bulging over a certain circumscribed area, around the point where the missile strikes. Should this point be immediately opposite one of the hammers, that hammer only will be forced backward. At the same time it is obvious that the area to which any hammer will respond will be circular in outline, and it is equally obvious that the disposition of the hammers must be such that the circular areas must overlap one another, so that no dead spaces are left, which would be irresponsive to the impact of the bullet. Therefore, should the bullet strike the target in the space where two hammer areas overlap, both corresponding hammers will be affected and driven back, and their corresponding indicators on the annunciator will fall.
Similar results will attend the striking of the target at those places where three and even four fields of influence overlap, so that it is possible for four indicators to be exposed as the result of one shot. At first sight this circumstance might appear to militate against the utility of the apparatus for scoring purposes, but as a matter of fact it assists appreciably in the localization of the shot.
For Instance, in a target having 37 hammers, if it were required that each shot should be responded to by the fall of one drop only, then there could be only 37 points of localization; but when it is remembered that the location of each shot is approximately opposite the hammer when only one drop falls, and in the case of the bullet hitting the target mid-way between two hammers when two indicators fall, and so on with three and four drops, the number of points of localization becomes considerably increased, aggregating over 150 different points.
The degree of accuracy of localization by means of this apparatus will be readily appreciated when it is remembered that, in regard to the "bull's-eye" alone there are thirteen different localizations that can be automatically indicated in the circular area 7 inches in diameter at a range of 200 yards. Ricocheting shots, which often enter into the scoring with the canvas targets, are with this apparatus eliminated, since they have not sufficient momentum when finally striking the target to force the hammer back far enough to make the necessary electrical contact. At the present time, all "bull's-eyes" are placed on an even basis in scoring, and in rifle competitions "ties" often result, simply because there is no fair way of discriminating between the marksman who strikes the dead center of the "bull's-eye" and the one who strikes it upon the circumference of its area.
With this apparatus, however, it is quite easy to make such distinctions with perfect fairness. Owing to the overlapping of the respective fields of influence, instead of there being only four zones corresponding to "bull's eye," "inner," "magpie," and "outer," respectively, there are seven distinct fields.
Upon rifle ranges where a series of targets may be required, each target is provided with its own annunciator at the firing line, but a cable with a single set of wires will suffice for an unlimited number of targets, provided there are as many wires in the cable as there are hammers or groups of hammers in any one target, besides a ground wire for each target. Thus a range having 10 targets and 37 hammers upon each would require a cable with 47 wires. This equipment would enable all the targets being in operation at the same time without any possibility of one interfering with the other, since it is apparent that each annunciator will only respond when the circuit is completed through its own ground wire. For protecting the cable from stray bullets it should be buried at a depth of about 8 inches.
_______________
We have been advised of another equivalent design of electrically scoring target, apparently the idea of a Belgian colonel, René Bremer, commander of the 1st Carabinieri Regiment. His initial patent was one year later than Peters', and was for just a single tipping plate with a pair of contacts behind that operated a solenoid that gave a signal of a hit on the plate.
Bremer is known to have subsequently designed and patented a figure target using his system, and formed by three of these heavy plates that each similarly recorded a hit when struck. The patent application was made in July 1904.
He is also reported to have subsequently designed a large target formed by a circle of heavy plates that each similarly recorded a hit when struck, but we have yet to locate a patent for this.
The target was used at 500 metres at the Malchamps and other Belgian ranges in the early 20th. Century,
the device was also sold to several other countries.
A 1908 Swiss review of the equipment (in French) is available HERE, in which Captain Bremer is credited with the design. (External Link)
The applicant and date of the patent for this military target have yet to be ascertained, but no further patents by René Bremer have been seen as yet, although a particularly similar device was patented in 1904 by Theodore Oetjen, the application also having been made in 1903.
The Patent drawing for this is shown below.
There was evidently considerable competition for the marketing of such equipment at the time. Indeed, there had been a British application for an electrically registering target of concentric rings by one William G. Williams as early as August 1901; patent no. GB190205592A.
Post WW1 in December 1919, one Clifton L. Bremer did patent an arcade-type shooting game under US patent no.1324189; but this was an entirely mechanical device, and C.L. Bremer resided in Massechusetts, so may, or may not, be connected with Col. R. Bremer..
SEE ALSO: ... LANDSCAPE TARGETS......... .SWIFT TRAINING RIFLE TARGETS.........NOVELTY TARGETS.........LEAGUES TARGETRY...... SMRC & NSRA TARGETRY
Return to: TOP of PAGE
See this website's Raison d'être